Hangzhou Cagon Transmission Technology Co., Ltd.
Hangzhou Cagon Transmission Technology Co., Ltd.
Productos
Productos
Caja de cambios de dragado
  • Caja de cambios de dragadoCaja de cambios de dragado
  • Caja de cambios de dragadoCaja de cambios de dragado
  • Caja de cambios de dragadoCaja de cambios de dragado
  • Caja de cambios de dragadoCaja de cambios de dragado
  • Caja de cambios de dragadoCaja de cambios de dragado

Caja de cambios de dragado

Esta caja de cambios de dragado de la serie especial para la bomba de suspensión es un nuevo producto desarrollado para todo tipo de dragistas, lo que cumple con las demandas de dragado de ríos o lagos en el país. Posee funciones de agarre y disminución, reducción de velocidad y fuerza de empalme del impulsor. Mientras tanto, la caja de cambios también es adecuada para el transporte de lodo en tierra.

Características

1. Este producto es una caja de cambios de dragado especial para la bomba de suspensión, que está diseñada y fabricada por la media que combina la tecnología introducida en Alemania y la tecnología avanzada actual en nuestra empresa. Por lo tanto, la caja de cambios de la serie es perfecta en rendimiento, confiable en operación y conveniente en mantenimiento.

2. Nuestra caja de cambios está diseñada con una carcasa integral, que también puede usarse como marco. Por lo tanto, aparece en perfecta rigidez y estructura compacta. En comparación con un sistema de bomba de lodo que aplica el embrague de tubo neumático, este sistema tiene las ventajas de una longitud axial más corta y más económica.

3. Los cojinetes de empuje con gran capacidad se utilizan para soportar una mayor fuerza de tracción del impulsor de la bomba de suspensión.

4. Aplica un sistema hidráulico de tipo tubo, que es conveniente en mantenimiento. Y la línea de aceite de alta presión usa mucho la manguera para disminuir mucho el ruido en la operación de la caja de cambios.


Siempre que la caja de cambios de Dredger se opere y se mantenga correctamente de acuerdo con el manual, funcionará de manera confiable a largo plazo. Si alguna exigencia especial, comuníquese directamente con el diseñador.


Capítulo ⅰ Datos técnicos

1. Tipo de barco coincidente: Dragas de todo tipo (también para transporte de lodo en la tierra)
2. Modo de transmisión: Engranaje cilíndrico helicoidal, dos ejes y dos engranajes
3. Tipo de embrague: Embrague de fricción hidráulico, húmedo, múltiple
4. Distancia central: 360 mm
5. Relación: 2.2 ~ 4 (puede determinarse en la solicitud real)
6. Potencia de entrada: 1060kW (la potencia y la velocidad pueden determinarse dependiendo de situaciones reales)
7. Velocidad de entrada: 1300 ~ 1800 rpm
8. Nominal trans. esfuerzo de torsión 0.7 kW/rpm
9. Empuje nominal del impulsor: 15T
10. Dirección de rotación: End de entrada (eje de entrada frente): en el sentido de las agujas del reloj
Extremo de salida (eje de salida orientado): en sentido horario
11. Eficiencia mecánica: ≥98%
12. Tiempo de compromiso: 2S - 6s
13.1 Presión de aceite de trabajo: 1.5 - 1.63 MPA
13.2 Lub. presión de petróleo
a velocidad normal:
A la velocidad de ralentí:
0.2 - 0.4 MPa
≥0.05 MPa
14. Marca de petróleo: HC-11, HQ-10 o SAE30 (libre de EP adictivo)
15. Capacidad de petróleo: ~ L
16. Lub. Temperatura del aceite: 40-60 ℃
17. Max. Temperatura del aceite: ≤80 ℃
18. Consumo de agua de enfriamiento: ≥5 t/h
19. Temperatura del agua de enfriamiento: ≤32 ℃
20. Velocidad de compromiso ≤60% de la velocidad del motor nominal


Capítulo ⅱ Introducción de estructura

1. General

Este sistema de caja de cambios de dragado es una caja de reducción de una sola etapa para la bomba de suspensión, con ejes de entrada y salida dispuestos verticalmente. Dado que el mecanismo es especial diseñado para impulsar la bomba de la lechada, la caja de la bomba de la lechada está conectada a la carcasa de la caja de cambios con pernos y rotor de la bomba de la lechada montada directamente en el eje de conducción de salida. La caja de cambios es adecuada no solo para todo tipo de dragas, sino también de transporte de lodo por tierra y conduce directamente la bomba de agua.

2. Estructura de cada ensamblaje

(2. 1) Conjunto de eje de entrada:

La carcasa del embrague se encoge en el eje de entrada; El portador del embrague está conectado al engranaje del eje que está soportado por dos rodamientos de rodillos cónicos.

Hay dos orificios de suministro de aceite en el extremo trasero del eje de entrada, uno para aceite hidráulico y el otro para el aceite de lubricación. Dentro de la ranura en el extremo trasero del eje, un anillo de sellado (con un grosor axial original de 3. 4 mm) está diseñado para el aceite-timidez. Si se usa en un grosor inferior a 2. 8 mm, debe renovarse.

(2. 2) Conjunto de eje de salida:

El engranaje de salida y el eje de salida son ajustados. Un cojinete de empuje está diseñado para llevar empuje. En el extremo de salida, se utilizan una junta tórica y un empaque de asbesto para sellar.

(2. 3) Asamblea de vivienda:

La carcasa de la caja de cambios consiste en piezas superiores e inferiores. La parte inferior se lanza por separado y tiene una rigidez perfecta con muchas costillas distribuidas en ella.

(2. 4) Conjunto de tuberías:

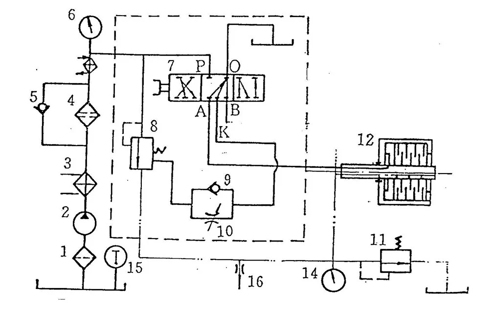
El aceite va del orificio de succión a la bomba de aceite, el filtro, la válvula de dos etapas, el enfriador y luego a cada punto o embrague de lubricación.

Cuando comenzó el motor, la bomba de aceite 2 comienza a funcionar. El aceite desde el sumidero a través del prefiltro 1 se comprime y se transmite al enfriador 3 y el filtro secundario 4. Después de enfriarse y filtrarse, una parte del aceite conduce al cilindro del embrague de anticipación 12 a través de la válvula de inversión 7 y la otra parte se desborda en la válvula de presión de trabajo 8. La mayor parte del aceite de sobreminación corre a lo largo del aceite de lubricación para lubricar a lubricado y se lleva el calor y se produce el calor y el 12 y el 13 y la transmisión de lubricación y la transmisión de lubricación para lubricar al paso de lubricación para lubricar cada cojinete y transmisión de la transmisión y 13 y 13 y 13 y 13 y 13 y 13 y 13 y 12 y 13 y 13 y 13 y 13 y 13 y luego transmitir lubricación de lubricación para lubricar cada cojinete y transmisión de calefacción y 13 y 13 y 13 y 13 y 13 y 13 y 12 y 13 y 12 y 12 y 13 y 13 y luego Engranaje a través de la tubería de la boquilla 16. El aceite de lubricación superflua vuelve al sumidero de aceite a través del lub. Válvula de presión 11. Si el filtro secundario 4 está obstruido, el aceite puede correr desde la válvula de derivación 5.

Dredger Gearbox

Diagrama del sistema hidráulico

1. Prefilter 2. Bomba de aceite 3. Enfriador 4. Filtro secundario
5. Válvula de derivación 6. Anatrán de presión de trabajo 7. Válvula de inversión
8. Válvula de presión de trabajo 9. Válvula de retención 10. Válvula del acelerador
11. Lub. Válvula de presión 12. Ayteo Clutch 13. Lub. manómetro
14. Termómetro de aceite 15. Tubo de boquilla

Cuando la válvula de inversión 7 está en la posición de parada, el aceite hidráulico no se puede comunicar a los agujeros A, B y K. Aceite en el cilindro del embrague 12 y en el final del control de retraso de la válvula de trabajo de los agujeros A, B y K al sumidero de aceite a través de la reversión

válvula. En este momento, la primavera en la válvula de presión de trabajo "llega a casa", y la presión del sistema es relativamente baja como la presión de aceite inicial (0. 3-0. 6MPA).

Cuando la válvula está en la posición de compromiso, el aceite presionado ingresa al cilindro del embrague de anticipación 12 a través del orificio A para que el embrague de anticipación se dedique. Mientras tanto, el aceite pasa a través de la válvula K y verifica la válvula del acelerador 9 y ingresa al final de control de la válvula de presión de trabajo para comprimir el resorte, lo que hace que el aumento de aceite de trabajo retrase el valor especificado (1. 9-2. 2MPA).

Se puede ajustar el tamaño del orificio de la válvula del acelerador. Cuando se entrega, el tiempo atractivo se establece como 2-4. Y normalmente no te atornillas solo.

La presión de trabajo se puede leer sobre el medidor de presión.


Capítulo ⅲ Mantenimiento y reparación

1. Siempre que la instalación y la operación correctas se realicen de acuerdo con el manual de servicio, la caja de cambios puede funcionar de manera confiable durante un período bastante largo, con la revisión de más de 10,000 horas.

2. La caja de cambios se entrega con engrasamiento contra la riega efectiva durante 12 meses a partir de la fecha de entrega. Si se almacena durante un período largo o deja de funcionar, debe inspeccionarse y mantenerse a tiempo.

3. Después de que la caja de cambios se ejecute durante las 50 horas iniciales, limpie el cartucho de filtro y el prefiltro y cambie el aceite limpio. En adelante, mantenga de acuerdo con las reglas especificadas en "elementos de mantenimiento".

4. Para mantener la caja de cambios funcionando en condiciones adecuadas, la inspección y el mantenimiento regulares se pueden organizar de la siguiente manera:

(1) Mantenimiento diario Acc. a los elementos de clase 1
(2) Cada 1000 H de mantenimiento acc. a los elementos de clase 2
(3) Cada 5000 h de mantenimiento acc. a los elementos de clase 3
(4) Cada 10000 h de mantenimiento acc. a los elementos de clase 4


APÉNDICE ⅰ elementos de mantenimiento

No. Descripción 1 2 3 4
1 Verifique el nivel de aceite dentro de la caja de cambios Ö
2 Limpio fuera de la caja de cambios Ö
3 Verifique cualquier ruido anormal Ö
4 Verifique cualquier fuga de aceite o agua Ö
5 Filtro limpio Ö
6 Válvula de funcionamiento limpia Ö
7 Verifique los sellos de aceite en el punto de aceite Ö
8 Verifique la precisión del ensamblaje del acoplamiento de entrada y el acoplamiento de alto flexible y el volante del motor Ö
9 Verifique la precisión del ensamblaje del acoplamiento de salida y los tornillos de conexión Ö
10 Retire la placa de cubierta superior, gire y verifique los engranajes y los embragues Ö
11 Verifique y renovar el aceite Ö
12 Verifique la bomba de aceite Ö
13 Verifique y limpie Ö
14 Verifique (o reemplace) los sellos con escala de entrada y salida Ö
15 Verifique los discos de fricción y los anillos de sellado Ö
16 Desmontar la carcasa, verificar (o reemplazar) cada rodamiento Ö
17 Limpiar cada parte de la caja de cambios y el pasaje de aceite Ö


Apéndice ⅱ Disparo de problemas

No. Nubes Causas Remedios
1 Vibración de la caja de cambios 1. Precisión de instalación baja
2. Tornillos de acoplamiento o pernos de acoplamiento de entrada y tornillos de la carcasa y el seguidor
3. Vibración atorial
1. ADJUST ACC. al manual
2. Apriete 3.Vele de resonancia Evaluar
2 No, una presión de aceite demasiado baja o inestable 1. bomba de aceite dañada
2. Lanzamiento del nivel de aceite
3. Succión de aire en tubería de entrada
4. Mangualillo de presión de aceite dañado
5. Dirección de rotación del motor no correspondiente
1. Reparación o renovación
2. Agradación de aceite
3. Apriete los pernos
4. Reemplazar
5. Verifique y resuelva acc. al manual de la bomba de aceite
3 Presión hidráulica demasiado baja 1. Holte de estrangulamiento de retraso de retraso
2. Pistón observado
3. Fuerza de primavera insuficiente
1.Clean
2.Clean y repara 3. Replacia de resorte o agrega arandelas
4 Lub inestable. presión de petróleo Lub obstruido. núcleo de la válvula de aceite Limpiar y reparar
5 Resbalón 1. Presión de aceite demasiado baja o inestable
2. Descallado discos de fricción
3. Camino de aceite colgado o anillo de sellado desgastado
1. Referente a No.2 y 3
2.Renew
3. Compe la forma de aceite o reemplace el anillo de sellado
6 Temperatura excesiva de aceite. 1.La deslizamiento de la embarcación
2.Cobado en agua de enfriamiento más fría o insuficiente
3. Nivel de aceite alto y alto
4. Piezas de carrera dañadas como rodamientos, anillos de empuje, etc.
5. AUL envejecido
1. Referente a No.5
2. Enfriador limpio, aumente el flujo de agua de enfriamiento
3.Cole el aceite acc. a la varilla de múltiples
4. Parte dañada 5. Renovado aceite
7 Fuga de agua o aceite 1. Sellos dañados
2. cara de sellado damas o impureza mixta
3. Tornillos soltos en la cara Faying
1. Reemplace el sello
2. Goma de sellado de cara y sellado de sellado de referencia
3. Apriete los tornillos


Ⅰ. Conjunto de eje de entrada (JL360-1-01-000)

No. Descripción Dibujo No. Cantidad Observaciones
1 Brida de entrada JL360-017 1 17
2 Tornillo JB/ZQ4444-86 1 18
3 Anillo GB/T894.1-86 1
4 Cojinete 224 1 29
5 Tuerca JL360-021 1 21
6 Placa de deflector JL360-030 1 30
7 Cilindro JL360-020 1 20
8 Pistón JL360-035 1 35
9 Anillo X 4451 1 36
10 Anillo S52029-451 1 32
11 Anillo X 4432 1 34
12 Anillo S52029-458 1 33
13 Eje de entrada JL360-022 1 22
14 Llave GB/T1567-79 1 23
15 Nuez hexagonal DIN6915A HV10 32 43
16 Tornillo JL360-042 16 42
17 Embrague JL360-044 1 44
18 Ex. Disco de fricción 3/0530/0034/1 9 37
19 En. Disco de fricción 3/0539/0046/2 9 40
20 Placa de empuje JL360-041 1 41
21 Primavera 410-021-215 9 24
22 Transportista de embrague JL360-038 1 38
23 Cojinete 42520E 1 11
24 Brida de embrague JL360-082 1 82
25 Arbusto espaciador de aceite JL360-008 1 8
26 Cojinete 32226 1 7
27 Engranaje de eje de entrada JL360-006 1 6
28 Cojinete 32228 1 5
29 Anillo GB/T3452.1-82 2 19
30 Eje trans JL360-009 1 9
31 Cojinete 111 1 4
32 Anillo de sellado 300-01-016 2 3


Ⅱ. Conjunto del eje de output (JL360-1-02-000)

No. Descripción Dibujo No. Cantidad Observaciones
1 Anillo GB/T894.1-86 1
2 Rueda giratoria JL360-045 1
3 Glándula JL360-052 1
4 Primavera NB170-017 8
5 Cojinete 903942e 1
6 Espaciador JL360-056 1
7 Cojinete 3053730 1
8 Arbusto espaciador JL360-058 1
9 Tuerca redonda JL360-1-077 1
10 Placa de presión JL360-060 1
11 Cojinete 39434E 1
12 Placa de presión JL360-062 1
13 Engranaje JL360-064 1
14 Llave GB / T1096-79 1
15 Eje de salida JL360-047 1
16 Cojinete 3003740 1


Ⅲ. Asamblea de casos (JL360-1-03-000)

No. Descripción Dibujo No. Cantidad Observaciones
1 Alojamiento superior JL360-054 1 54
2 Tornillo GB/T5782-86 2 83
3 Tornillo GB/T5782-86 6 78
4 Alfiler GB / T118-86 2 73
5 Tornillo GB/T5783-86 12 70
6 Juego de respiración 120C-04-000 1 63
7 Tornillo GB/T5783-86 16 74
8 Cubierta JL360-075 2 75
9 Empaquetadora JL360-076 2 76
10 Anillo GB/T3452.1-82 1 80
11 Alfiler GB/T119-86 2 31
12 Tornillo GB/T5783-86 4 67
13 Cubierta de sellado dividido JL360-066 1 66
14 Embalaje 15.9 × 15.9 1 81
15 Tuerca GB/T6170-86 4 68
16 Tornillo GB/T5783-86 16 50
17 Manga de deflectación de aceite JL360-002 1 2
18 Bloque de distribuidores JL360-001 1 1
19 Tornillo JB/T1000-77 2 13
20 Lavadora de cobre Q20-03 2 14
21 Alojamiento inferior JL360-012 1 12
22 Tuerca GB/T6170-86 6 77
23 Sello de petróleo GB/T9877.1-88 2 46
24 Gran tapa final JL360-015 1 15
25 Tornillo GB/T5782-86 10 69
26 Embalaje 9.5 × 9.5 1 27
27 Cubierta de sellado dividido de entrada JL360-026 1 26
28 Anillo GB/T3452.1-82 1 25
29 Alfiler GB/T120-86 2 19
30 Tornillo GB/T5782-86 6 16


Datos para el cálculo de la vibración torsional para la caja de cambios de bomba de lechada JL360-1A

Dredger Gearbox


Ⅰ. Momento de inercia

I1. Brida de entrada y parte del eje de entrada.

I2. Cilindro, pistón, portador de embrague, discos de fricción internos, eje de aceite y parte del eje de entrada.

I3. Carcasa del embrague, brida del embrague, discos de fricción externos y parte del engranaje del eje de entrada.

I4. Parte del engranaje del eje de entrada.

I5. Engranaje de salida y parte del eje de salida.

I6. Parte del eje de salida.

Ⅱ. Rigidez torsional

C1. Eje de entrada

C2. Engranaje de eje de entrada

C3. Eje de salida


Hoja de datos para el cálculo de vibración torsional de la caja de cambios JL360-1A

Ⅰ. Momento de inercia

Código Relación Momento de inercia
i Yo (kg · ㎡)
I1 2. 56 0. 9137
I2 2. 56 1. 1786
I3 2. 56 3. 9177
I4 2. 56 0. 2862
I5 2. 56 9. 734
I6 2. 56 0. 729


Ⅱ. Rigidez del resorte torsional y diámetros del eje

Código Relación Rigidez de la primavera torsional Diámetros del eje
i C (10 n · m/rad) D (mm)
C1 2. 56 5. 18 110
C2 2. 56 12. 66 130/45
C3 2. 56 9. 79 150


Nota:*1 valor absoluto, no convertir valor

*2 eje hueco


Etiquetas calientes: Caja de cambios de dragado
Enviar Consulta
Datos de contacto
Obtenga cotizaciones de precios personalizadas para transmisiones marinas dentro de las 24 horas. China Factory con certificaciones de clasificación múltiple. ¡Envíe los requisitos de su proyecto ahora!
X
We use cookies to offer you a better browsing experience, analyze site traffic and personalize content. By using this site, you agree to our use of cookies. Privacy Policy
Reject Accept